<< Voltar
Funcionamento
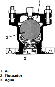
Com a câmara cheia de líquido, o flutuador é empurrado para cima pelo empuxo exercido pela água e obtura o orifício do niple.
Durante o funcionamento da rede, o ar acumula-se no interior da ventosa, o empuxo diminui, o flutuador desce e o ar acumulado é eliminado pelo orifício do niple.
Limite de Funcionamento
Considerando as forças que atuam no flutuador, e por estarem o ar e a água à mesma pressão e ser o flutuador uma esfera, todas as componentes F, opostas, se anulam. Somente a seção do flutuador em frente ao orifício do niple, submetida à pressão atmosférica na parte superior do flutuador, irá se equilibrar com uma seção idêntica submetida à pressão do fluido na parte inferior do flutuador. A parte vertical V aplicada nesta porção do flutuador é definida por:

V = S x P
- onde:
- S: seção do orifício do niple
- P: pressão de serviço
Se esta componente vertical V for maior que o peso do flutuador, a ventosa não poderá funcionar. O orifício não será liberado para o escapamento de ar mesmo que a ventosa esteja repleta de ar.
|