<< Voltar
Mecanismos de Redução
A Saint-Gobain Canalização comercializa acoplados às suas válvulas borboleta com acionamento manual, duas linhas distintas de redutores:
Redutores K:
Tipo coroa sem fim projetados apenas para acionamento manual, não permitem automação futura.
Redutores C:
Tipo coroa sem fim, projetados para acionamento manual, porém, permite facilmente uma automação futura. Estes modelos são utilizados até válvulas de DN 350 para PN16 e DN 450 para PN10. Para os demais diâmetros, utiliza-se o sistema de porca viajante, com a mesma possibilidade de automação futura.
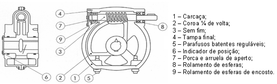
Os mecanismos de redução são do tipo porca viajante ou coroa e sem fim da linha C são de concepção simples, robustos e precisos, oferecem o máximo de segurança durante as manobras.
Tipo Coroa Sem Fim

Tipo Porca Viajante

Válvula Borboleta com Flanges Série AWWA-VBFW


|